腾讯科技
趋势网(微博)讯:

男子1650元买羽绒服全是飞丝报警
12306取消订单3次当日无法购票
7旬夫妻开老头乐闯灯被撞索赔70万
消费者在使用iPhone或者iPad时,一些源自屏幕边缘的手势操作,很难被系统识别,不过如果苹果新申请的一项专利技术投入使用,很可能解决这一问题。

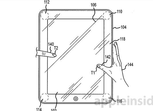
压力传感器精准定位手指滑动位置专利示意图
最近,美国专利商标局公布了苹果2012年申请的一个专利文件。苹果将会在iPad或者iPhone的屏幕玻璃面板的底部,部署若干个压力传感器,从而获得新的用户输入参数,可以提供更加人性化的操控性。
这一专利名为“通过压力传感监测实现手势和触摸输入”。苹果在专利中提到了现有多点触摸操控的一些缺点,尤其是对和屏幕边缘有关的手势动作,反应不够精准灵活。
苹果提到,在一般情况下,可以在玻璃面板底部部署至少三个压力传感器,这些传感器和触摸层相邻。
据称,每一个压力传感器,可以测量计算出用户压力,并且可以计算出用户手指的“压力中心”。
压力中心数据,可以和触摸输入数据结合起来分析,从更加精确的定位手势操作的起始地点。这可以使得手势操控更加精准。