其它
趋势网(微博)讯:

清明上山扫墓却发现母亲的墓不见了
董宇辉曾说产品上播10天前有人试吃
特朗普称若无协议将袭伊所有发电厂
得益于NokiaLumia 1020,智能手机拍照爱好者们得以玩转RAW格式,对拍摄的高清原始图片进行重新构造。对此,苹果也不甘示弱,据外媒报道,苹果一项与此相关的新专利获批,日前被媒体曝光。
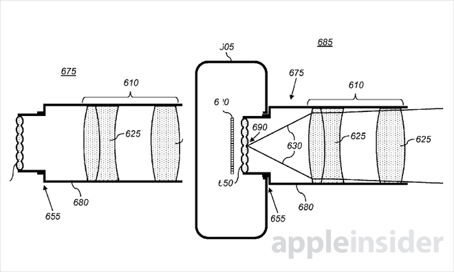
这是一款光场相机(light-field camera),能够被安装于移动设备中,最大的特点是能够通过一个微透镜适配器对拍摄好的成像作品进行二次对焦。也就是说,再也不用担心拍出来的照片是模糊不清的啦。
光场设计出自于由斯坦福大学毕业生Ren Ng设计的Lytro相机。据说该款相机的设计当初得到了不少知名投资商的资金支持。其中最出名的就是乔布斯本人,曾邀请其的创始人到家中做客、演示这项技术。而苹果的光场适配器专利也在2011年由John Norvold Border和Richard D. Young作为发明人建档。所以,也可以说苹果的这项专利借鉴了来自Lytro的启发,但是在图片的质量和处理上会表现得更加出色。

最大的不同在于,这次苹果的设计理念中,相机镜头和传感器之间加入了可移动的“微镜头阵列”,这样一个位于支架上的可调节装置设计可帮助设备同时拍摄“高清不可重新对焦照片”和“较低画质可重新对焦照片”,从而支持照片的二次对焦处理。

这一技术是否会被运用到苹果接下来的iPhone系列中我们还不得而知,但是它的运用必然会为许多用户解决在小屏幕上拍照,难以对焦的问题。当然,更让人期待的还是它进一步被运用到光场摄像的技术中,可二次对焦的影片拍摄将会是iPhone新款最令人期待的进步,能够弥补其在对空对焦上的缺点。
但这一设计仅仅还停留在专利纸上,我们还无法想象当其真正被设置于一台苹果手机中的样子,不过,也许,它已经在那儿了。